Zurück zu
>
Mäher
>
Elektro
>
Schiebe bis 38 cm
>
Sonstige
>
P32E9 ( 2005 / 4901001-G, H )
>
Chassis (4901001gh-2005-2)
Ersatzteillisten für Wolf Mäher Chassis (4901001gh-2005-2)
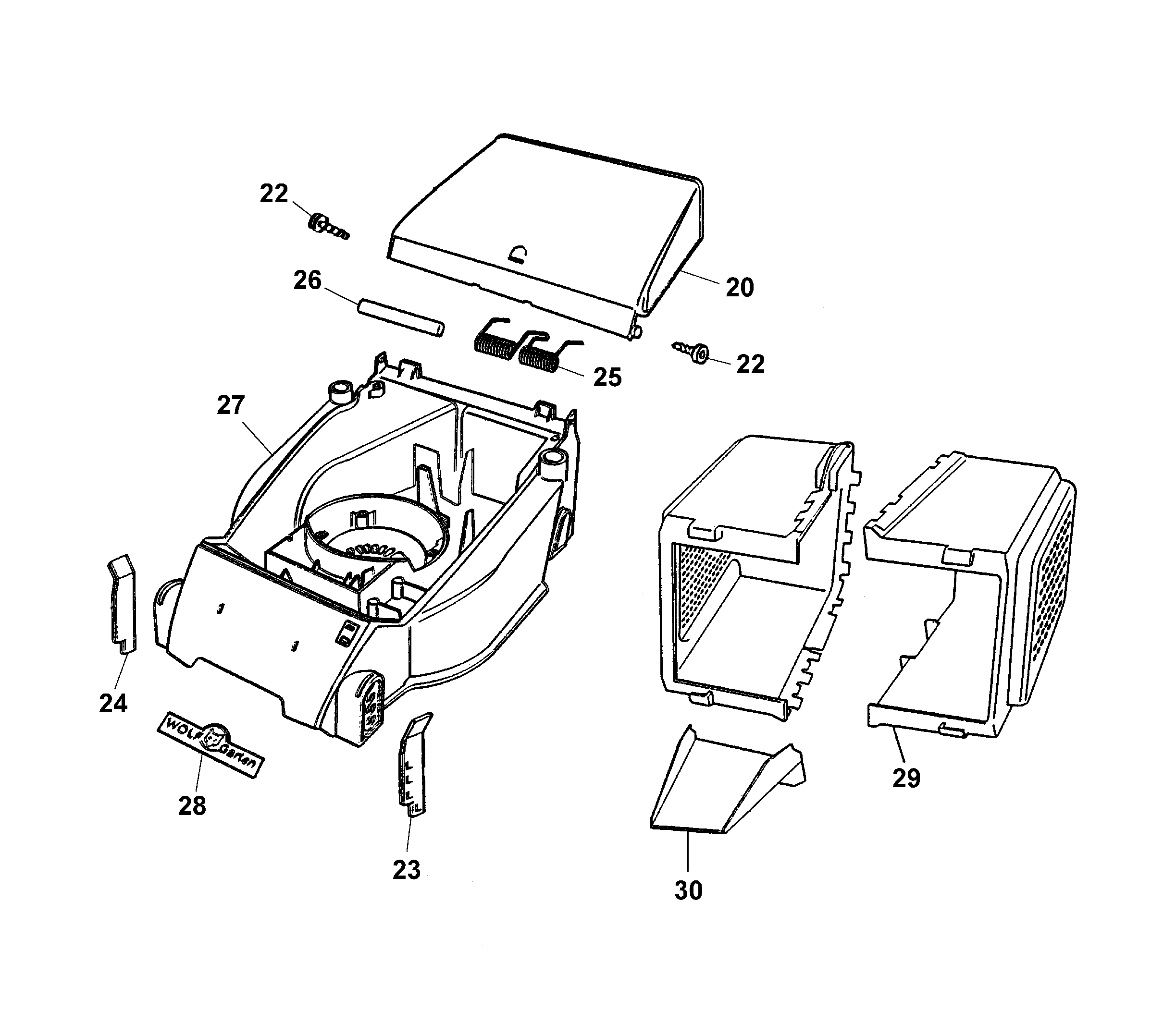
Pos.
Bezeichnung
Ersatzteilnummer
20
Schutzklappe gelb
4901 302
22
Schraube
0012 622
23
Riegel links
4901 309
24
Riegel rechts
4901 308
25
Doppel-Schenkelfeder
4901 100
26
Rundstab
4901 208
27
Chassis
4901 300
28
WOLF-Garten Marke
0051 115
29
Fangkorbhälfte*
4901 303
30
Schütte
4901 307
Gebrauchsanweisungen
Wolf
Handgeräte
Heckenscheren
Universalscheren
Handgrasscheren
Astscheren
Baumscheren
Baumpflege
Beleuchtungssysteme
Accuscheren
Häcksler
Sägen
Trimmer
Spindelmäher
Streuwagen / Portax
Schlauchwagen
Vertikutierer / Lüfter / Aerifizierer
Mäher
Accu
Benzin
Elektro
Schiebe bis 38 cm
2er
4er
6er
Picco
Premio
Power Edition
Esprit
Compact Plus
Sonstige
Olympia E Plus ( 1999 / 4906005-A )
Olympia E Plus ( 2001 / 4906885- )
Olympia E Plus ( 2002 / 4906885-B, C )
Olympia E Plus ( 2003 / 4906685-A )
32 EK ( 2001 / 4932005-A )
HBM 32 E ( 2002 / 4912885-A )
32 EK ( 2002 / 4932005-B, C )
HBM 32 E ( 2003 / 4912685-A )
HC 37 K ( 2005 / 4907007-A )
P32E9 ( 2005 / 4901001-G, H )
Datenblatt (4901001gh-2005-1)
Chassis (4901001gh-2005-2)
Achse, Räder, Höhenverstellung (4901001gh-2005-3)
Griff kpl. (4901001gh-2005-4)
Abdeckhaube, Motor, Messer (4901001gh-2005-5)
Schiebe ab 40 cm
Antrieb
Aufsitzmäher
Benzinmotoren
Zubehör
Impressum
(C) by motoruf