Zurück zu
>
Mäher
>
Elektro
>
Schiebe bis 38 cm
>
Sonstige
>
Olympia E Plus ( 2003 / 4906685-A )
>
Chassis (4906685a-2003-2)
Ersatzteillisten für Wolf Mäher Chassis (4906685a-2003-2)
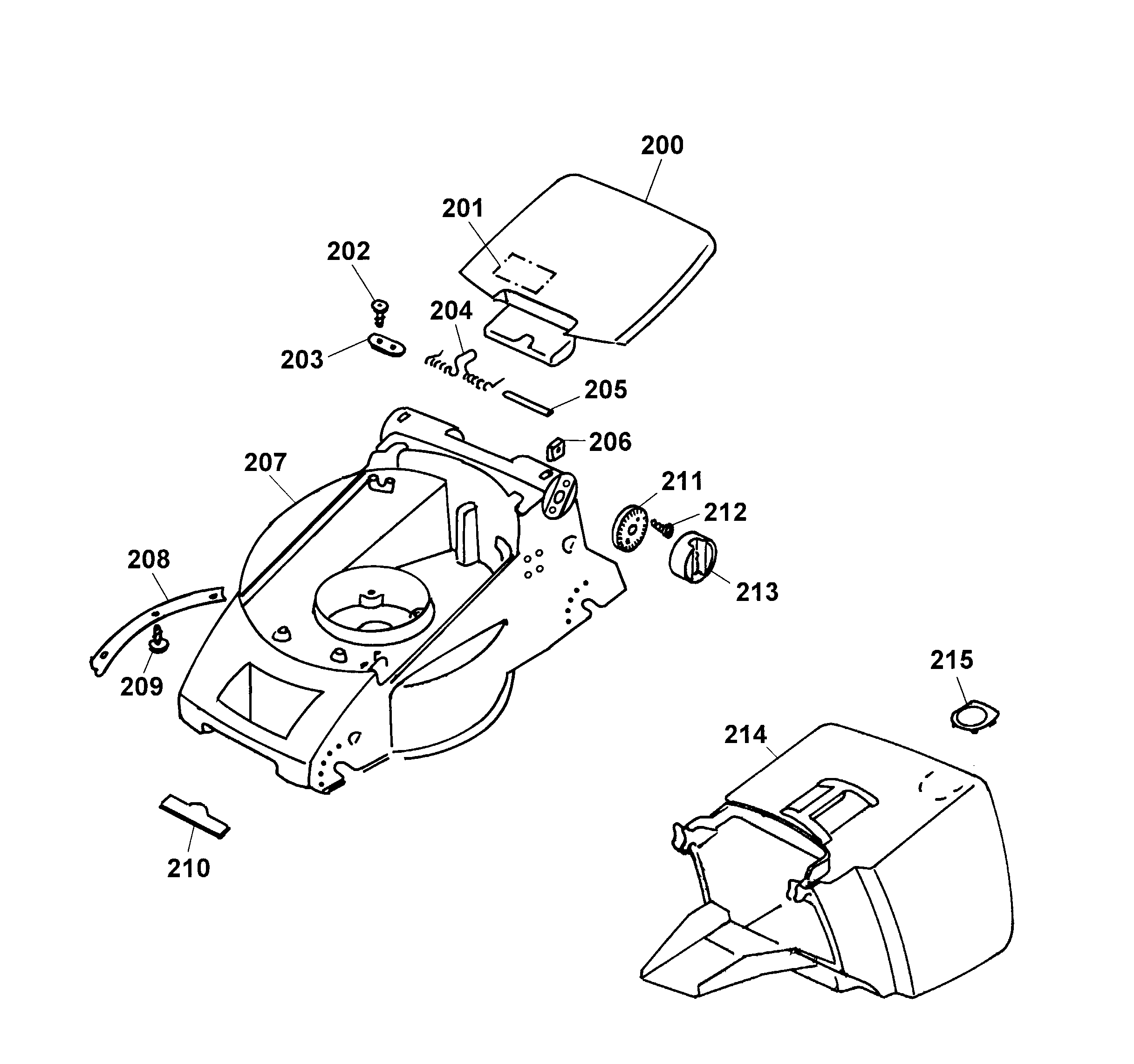
Pos.
Bezeichnung
Ersatzteilnummer
200
Heckklappe
4906 306
201
Sicherheitsetikett, Pictogramm
0051 244
202
PT-Schraube
0012 625
203
Schelle
4557 208
204
Schenkelfeder
4936 217
205
Rundstab
4932 208
206
4kt.-Mutter
0016 409
207
Chassis
4936 390
208
Verstärkung
4936 112
209
Schraube
0012 899
210
WOLF-Garten Marke
0051 115
211
Zwischenring
4936 125
212
PT-Schraube
0012 625
213
Verstellring
4950 126
214
Fangkorb
4936 066
215
Verschlußdeckel
4906 315
Gebrauchsanweisungen
Wolf
Handgeräte
Heckenscheren
Universalscheren
Handgrasscheren
Astscheren
Baumscheren
Baumpflege
Beleuchtungssysteme
Accuscheren
Häcksler
Sägen
Trimmer
Spindelmäher
Streuwagen / Portax
Schlauchwagen
Vertikutierer / Lüfter / Aerifizierer
Mäher
Accu
Benzin
Elektro
Schiebe bis 38 cm
2er
4er
6er
Picco
Premio
Power Edition
Esprit
Compact Plus
Sonstige
Olympia E Plus ( 1999 / 4906005-A )
Olympia E Plus ( 2001 / 4906885- )
Olympia E Plus ( 2002 / 4906885-B, C )
Olympia E Plus ( 2003 / 4906685-A )
Datenblatt (4906685a-2003-1)
Chassis (4906685a-2003-2)
Achse, Räder, Höhenverstellung (4906685a-2003-3)
Griff kpl. (4906685a-2003-4)
Abdeckhaube, Motor, Messer (4906685a-2003-5)
32 EK ( 2001 / 4932005-A )
HBM 32 E ( 2002 / 4912885-A )
32 EK ( 2002 / 4932005-B, C )
HBM 32 E ( 2003 / 4912685-A )
HC 37 K ( 2005 / 4907007-A )
P32E9 ( 2005 / 4901001-G, H )
Schiebe ab 40 cm
Antrieb
Aufsitzmäher
Benzinmotoren
Zubehör
Impressum
(C) by motoruf