Zurück zu
>
Benzinmotoren
>
Briggs & Stratton
>
Quantum
>
55 XTE ( 2003 / 2076050- )
>
Haube, Tank, Lüfterhaube (2076050-2003-5)
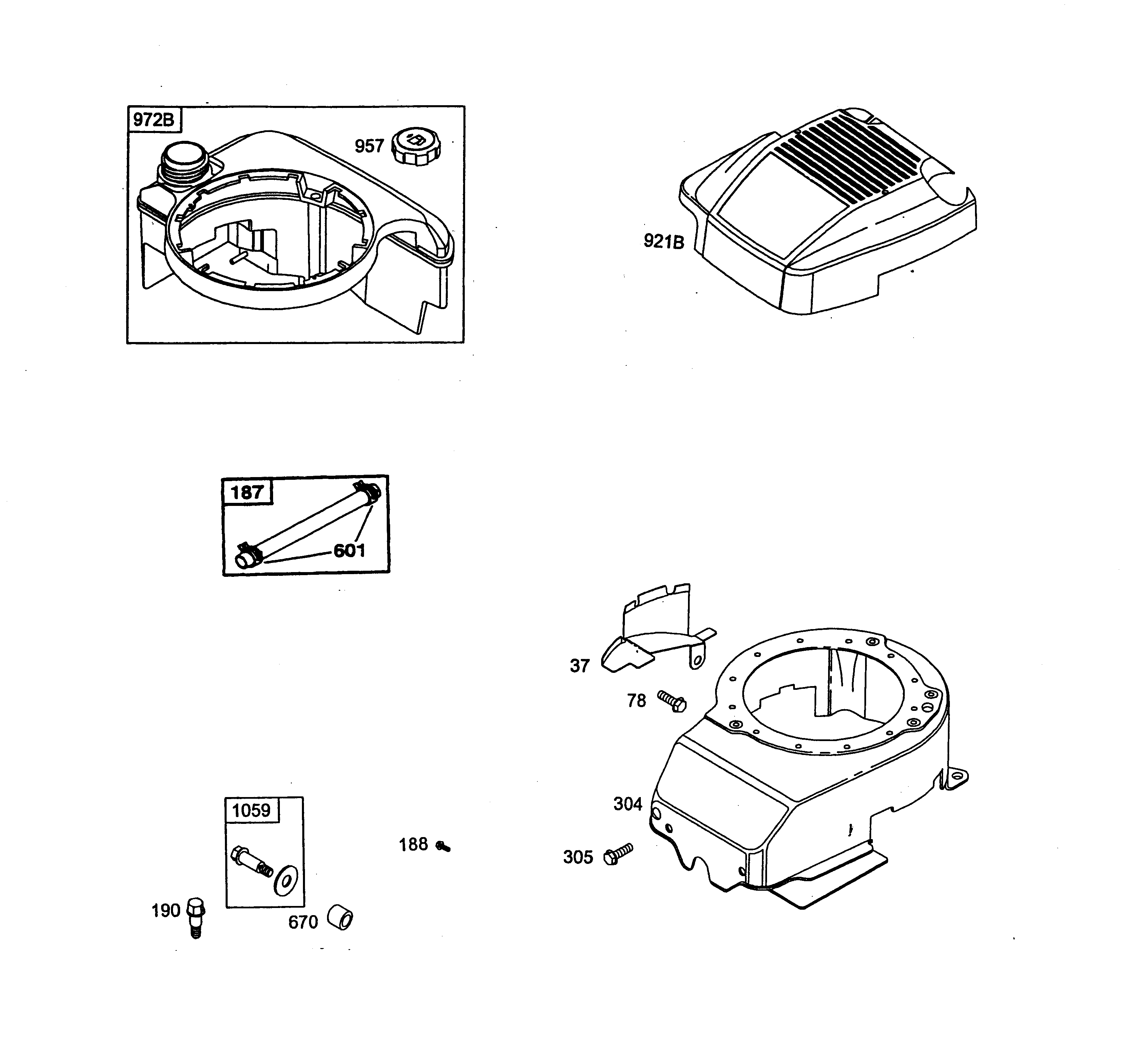
Ersatzteillisten für Wolf Benzinmotoren Haube, Tank, Lüfterhaube (2076050-2003-5)
Pos.
Bezeichnung
Ersatzteilnummer
37
Schutzblech
2058 306
78
Schraube
2058 104
187
Schlauch kpl.
2063 065
188
Schraube
2058 311
190
Schraube
2058 312
304
Lüftergehäuse
2058 107
305
6kt.-Schraube
2057 106
564
Schraube
2059 218
601
Klemme
1036 517
670
Distanzstück
2057 166
957
Tankdeckel
2064 501
972B
Kraftstoffbehälter
2059 510
1059
Schraube mit Scheibe
2059 203
Gebrauchsanweisungen
Wolf
Handgeräte
Heckenscheren
Universalscheren
Handgrasscheren
Astscheren
Baumscheren
Baumpflege
Beleuchtungssysteme
Accuscheren
Häcksler
Sägen
Trimmer
Spindelmäher
Streuwagen / Portax
Schlauchwagen
Vertikutierer / Lüfter / Aerifizierer
Mäher
Aufsitzmäher
Benzinmotoren
Tecumseh
Briggs & Stratton
Quattro
Quantum
XE, XTE, XTL 35/40/45/50-I/C-ES ( 1996 / 2069050- )
XE, XTE 35/40-50/55 ( 1996 / XEXTE_35-55- )
50 XTE ( 1999 / 2069070- )
XTE 50 ES ( 1999 / 2069080- )
XM 45 ( 1999 / 2066075- )
XM 45 ( 2002 / 2066075- )
XE 55 I/C ( 2000 / 2074050- )
XTE 50 ES ( 2002 / 2069060- )
50 XTE ( 2003 / 2069070- )
45 XM ( 2003 / 2075000-45- )
55 XM ( 2003 / 2075000-55- )
55 XM (2075060-2003)
55 XTE ( 2003 / 2076050- )
Kurbelgehäuse (2076050-2003-1)
Kolben, Ventile, Kurbelwelle, Ölwanne (2076050-2003-2)
Vergaser (Primer System) (2076050-2003-3)
Regelung, Polrad, Anlasser (2076050-2003-4)
Haube, Tank, Lüfterhaube (2076050-2003-5)
Luftfilter, Schalldämpfer (2076050-2003-6)
Zündanlage, Starter (2076050-2003-7)
Dichtungssatz (2076050-2003-8)
55 X-ES ( 2003 / 2076060- )
55 XES ( 2004 / 2069060- )
50 XTE ( 2004 / 2069070-50- )
55 XTE ( 2004 / 2069070-55- )
45 XM ( 2004 / 2075000-45- )
55 XM ( 2004 / 2075000-55- )
XTE 50 ( 2002 / 2069095- )
Q 48 Fixspeed ( 2004 / 2069096- )
Diamond
Intek
Sprint
Classic
Honda
Kawasaki
Zubehör
Impressum
(C) by motoruf