Zurück zu
>
Mäher
>
Elektro
>
Schiebe ab 40 cm
>
Compact plus
>
Compact plus Power Edition 40 E ( 2006 / 4048000-A )
>
Motor, Messer (4048000a-2006-5)
Ersatzteillisten für Wolf Mäher Motor, Messer (4048000a-2006-5)
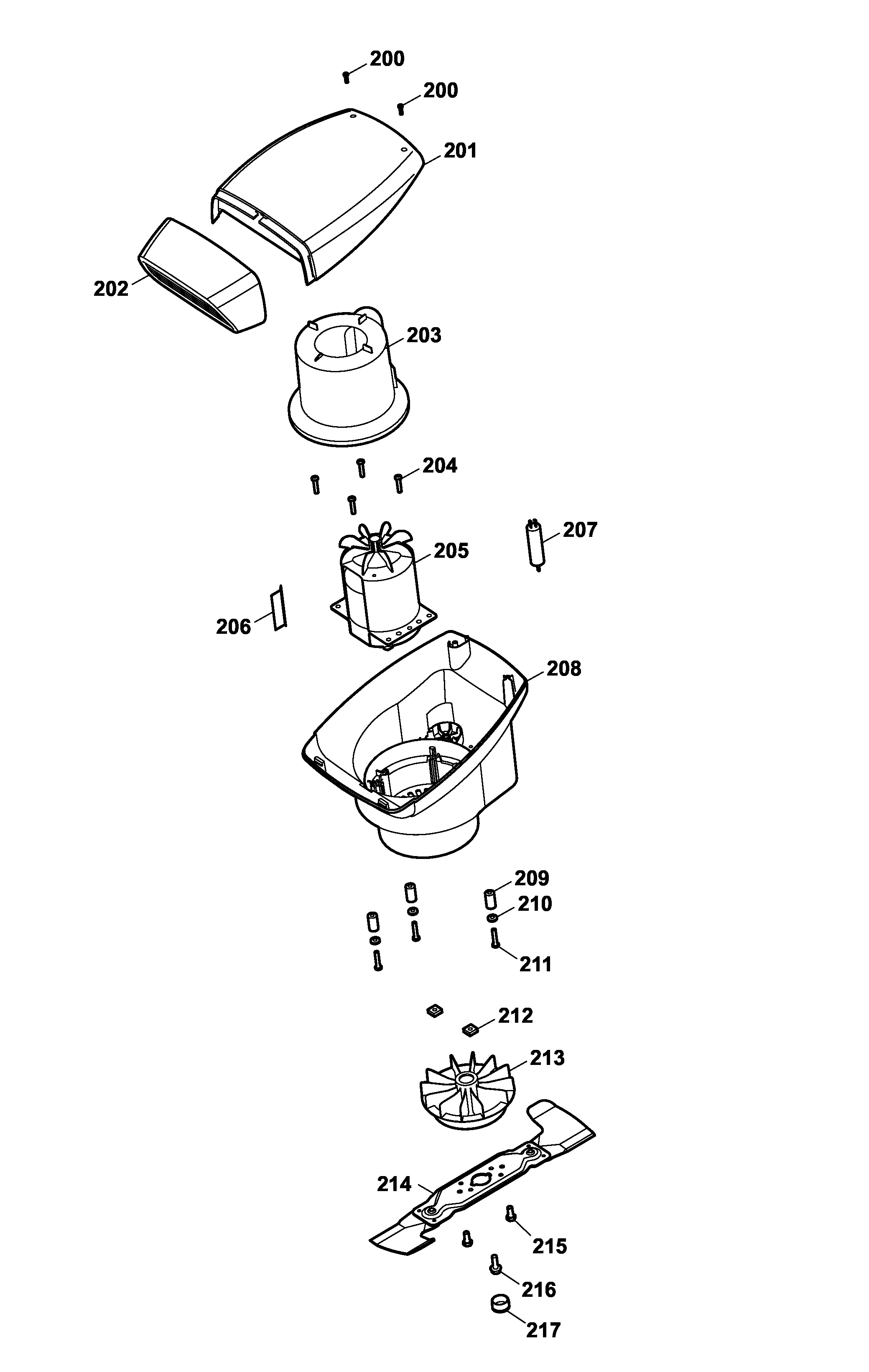
Pos.
Bezeichnung
Ersatzteilnummer
200
PT-Schraube
0012 625
201
Oberteil
4317 301
202
Frontteil
4317 302
203
Luftführungshaube
4961 326
204
PT-Schraube
0012 642
205
Motor 1600 Watt
1142 081
206
Luftleitfolie
1142 300
207
Kondensator 20 ?F
1133 030
208
Unterteil
4620 300
209
Distanzhülse
4620 312
210
Scheibe
0017 110
211
PT-Schraube
0012 644
212
4kt.-Mutter
0016 409
213
Lüfter
4317 026
214
Messerbalken
4001 405
214
Messerbalken kpl. VI 40 W
4001 094
***
VI-W Messerklingen (1 Paar)
4350 040
215
6kt.-Schraube
0010 385
216
6-kt.-Schraube M 8xx12
0010 384
216
6kt.-Schraube
0010 403
217
Stopfen
4317 308
Gebrauchsanweisungen
Wolf
Handgeräte
Heckenscheren
Universalscheren
Handgrasscheren
Astscheren
Baumscheren
Baumpflege
Beleuchtungssysteme
Accuscheren
Häcksler
Sägen
Trimmer
Spindelmäher
Streuwagen / Portax
Schlauchwagen
Vertikutierer / Lüfter / Aerifizierer
Mäher
Accu
Benzin
Elektro
Schiebe bis 38 cm
Schiebe ab 40 cm
2er
4er
6er
Concept
Premio
Power Edition
Esprit
Sonstige
Compact plus
Compact plus 40 E ( 2006 / 4021000-A )
Compact plus Power Edition 40 E ( 2006 / 4048000-A )
Datenblatt (4048000a-2006-1)
Chassis (4048000a-2006-2)
Achse, Räder (4048000a-2006-3)
Griff, Schalter (4048000a-2006-4)
Motor, Messer (4048000a-2006-5)
Fangsack (4048000a-2006-6)
Compact plus Power Edition 40 E ( 2006 / 4048003-A )
Antrieb
Aufsitzmäher
Benzinmotoren
Zubehör
Impressum
(C) by motoruf