Zurück zu
>
Mäher
>
Elektro
>
Schiebe bis 38 cm
>
2er
>
2.32 E ( 2005 / 4912780-B )
>
Motor, Messer (4912780b-2005-5)
Ersatzteillisten für Wolf Mäher Motor, Messer (4912780b-2005-5)
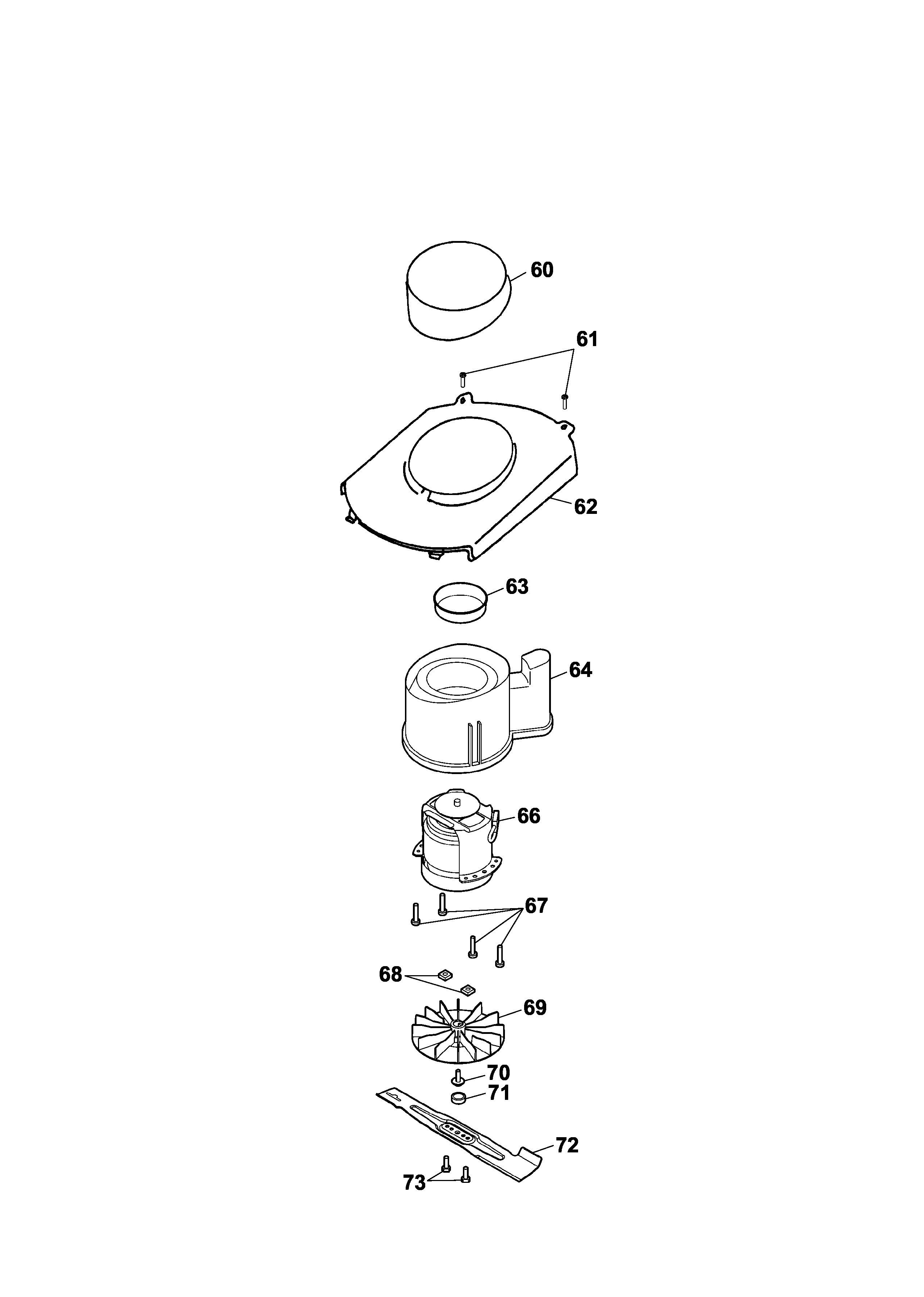
Pos.
Bezeichnung
Ersatzteilnummer
60
Motorabdeckung
4936 305
61
PT-Schraube
0012 625
62
Chassisabdeckung
4912 302
64
Luftführung
4932 308
66
Motor
1104 060
67
Schraube
0012 610
68
4 kt.-Mutter ()
0016 405
69
Lüfter kpl.
4936 027
70
6kt.-Schraube M 6x20
0010 680
71
Stopfen
4936 308
72
Messer
4932 090
73
Schraube M 6x16
0010 366
Gebrauchsanweisungen
Wolf
Handgeräte
Heckenscheren
Universalscheren
Handgrasscheren
Astscheren
Baumscheren
Baumpflege
Beleuchtungssysteme
Accuscheren
Häcksler
Sägen
Trimmer
Spindelmäher
Streuwagen / Portax
Schlauchwagen
Vertikutierer / Lüfter / Aerifizierer
Mäher
Accu
Benzin
Elektro
Schiebe bis 38 cm
2er
2.132 E ( 1996 / 4901000-A )
2.36 E ( 1996 / 4906000-C )
2.36 E ( 1996 / 4906003-C )
2.32 E ( 1996 / 4912080-B )
2.32 E ( 1996 / 4912083-B )
2.36 E ( 2000 / 4906880-A )
2.36 E ( 2000 / 4906883-A )
2.32 E ( 2000 / 4912880-A )
2.32 E ( 2000 / 4912883-A )
2.32 EP ( 2002 / 4912080-C - F )
2.38 E ( 2002 / 4961080-A )
2.36 EK ( 2003 / 4906684-A )
2.32 E ( 2003 / 4912684-A )
2.36 E ( 2004 / 4906780-A )
2.36 E ( 2004 / 4906783-A )
2.38 E ( 2004 / 4961080-B )
2.34 CPK ( 2005 / 4904005-A )
2.36 EK ( 2005 / 4906684-B )
2.36 E ( 2005 / 4906780-B, C )
2.36 E ( 2005 / 4906783-B, C )
2.36 E ( 2005 / 4906785-A )
2.36 XC ( 2005 / 4906786-A )
2.32 E ( 2005 / 4912780-A )
2.32 E ( 2005 / 4912780-B )
Datenblatt (4912780b-2005-1)
Chassis (4912780b-2005-2)
Achse, Räder, Höhenverstellung (4912780b-2005-3)
Griff, Schalter (4912780b-2005-4)
Motor, Messer (4912780b-2005-5)
2.32 E ( 2005 / 4912780-C )
2.38 E ( 2005 / 4961080-C )
2.38 E ( 2005 / 4961080-D )
2.32 E-1 ( 2006 / 4905000-A )
2.32 E-1 ( 2006 / 4905003-A )
4er
6er
Picco
Premio
Power Edition
Esprit
Compact Plus
Sonstige
Schiebe ab 40 cm
Antrieb
Aufsitzmäher
Benzinmotoren
Zubehör
Impressum
(C) by motoruf