Zurück zu
>
Benzinmotoren
>
Briggs & Stratton
>
Quantum
>
XTE 50 ES ( 1999 / 2069080- )
>
Polrad, Lüfterhaube (2069080-1999-9)
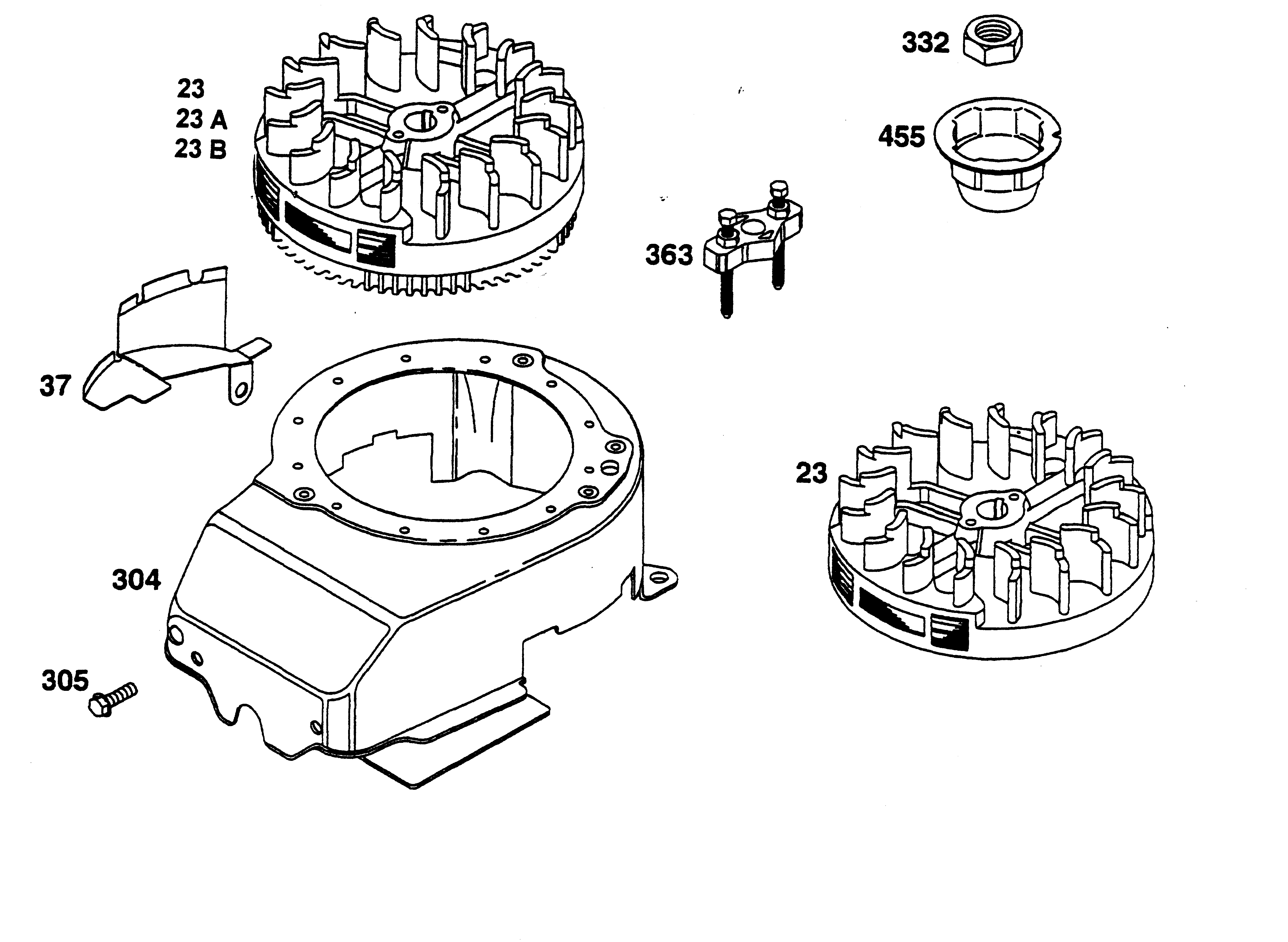
Ersatzteillisten für Wolf Benzinmotoren Polrad, Lüfterhaube (2069080-1999-9)
Pos.
Bezeichnung
Ersatzteilnummer
23A
Schwungrad
2063 127
37
Schutzblech
2058 306
304
Gebläsegehäuse
2063 315
305
6kt.-Schraube
2057 106
332
Mutter
2069 132
363
Abzieher
2062 057
455
Starterglocke
2057 306
Gebrauchsanweisungen
Wolf
Handgeräte
Heckenscheren
Universalscheren
Handgrasscheren
Astscheren
Baumscheren
Baumpflege
Beleuchtungssysteme
Accuscheren
Häcksler
Sägen
Trimmer
Spindelmäher
Streuwagen / Portax
Schlauchwagen
Vertikutierer / Lüfter / Aerifizierer
Mäher
Aufsitzmäher
Benzinmotoren
Tecumseh
Briggs & Stratton
Quattro
Quantum
XE, XTE, XTL 35/40/45/50-I/C-ES ( 1996 / 2069050- )
XE, XTE 35/40-50/55 ( 1996 / XEXTE_35-55- )
50 XTE ( 1999 / 2069070- )
XTE 50 ES ( 1999 / 2069080- )
Kurbelgehäuse (2069080-1999-1)
Kolben, Ventile (2069080-1999-2)
Kurbelwell, Ölwanne (2069080-1999-3)
Vergaser (2069080-1999-4)
Regelung (2069080-1999-5)
Zündanlage (2069080-1999-6)
Haube, Kraftstoffbehälter (2069080-1999-7)
Luftfilter, Schalldämpfer (2069080-1999-8)
Polrad, Lüfterhaube (2069080-1999-9)
Starter (2069080-1999-10)
elektrischer Anlasser (2069080-1999-11)
Dichtungssatz (2069080-1999-12)
XM 45 ( 1999 / 2066075- )
XM 45 ( 2002 / 2066075- )
XE 55 I/C ( 2000 / 2074050- )
XTE 50 ES ( 2002 / 2069060- )
50 XTE ( 2003 / 2069070- )
45 XM ( 2003 / 2075000-45- )
55 XM ( 2003 / 2075000-55- )
55 XM (2075060-2003)
55 XTE ( 2003 / 2076050- )
55 X-ES ( 2003 / 2076060- )
55 XES ( 2004 / 2069060- )
50 XTE ( 2004 / 2069070-50- )
55 XTE ( 2004 / 2069070-55- )
45 XM ( 2004 / 2075000-45- )
55 XM ( 2004 / 2075000-55- )
XTE 50 ( 2002 / 2069095- )
Q 48 Fixspeed ( 2004 / 2069096- )
Diamond
Intek
Sprint
Classic
Honda
Kawasaki
Zubehör
Impressum
(C) by motoruf