Zurück zu
>
Benzinmotoren
>
Briggs & Stratton
>
Quantum
>
50 XTE ( 2003 / 2069070- )
>
Regelung (2069070-2003-5)
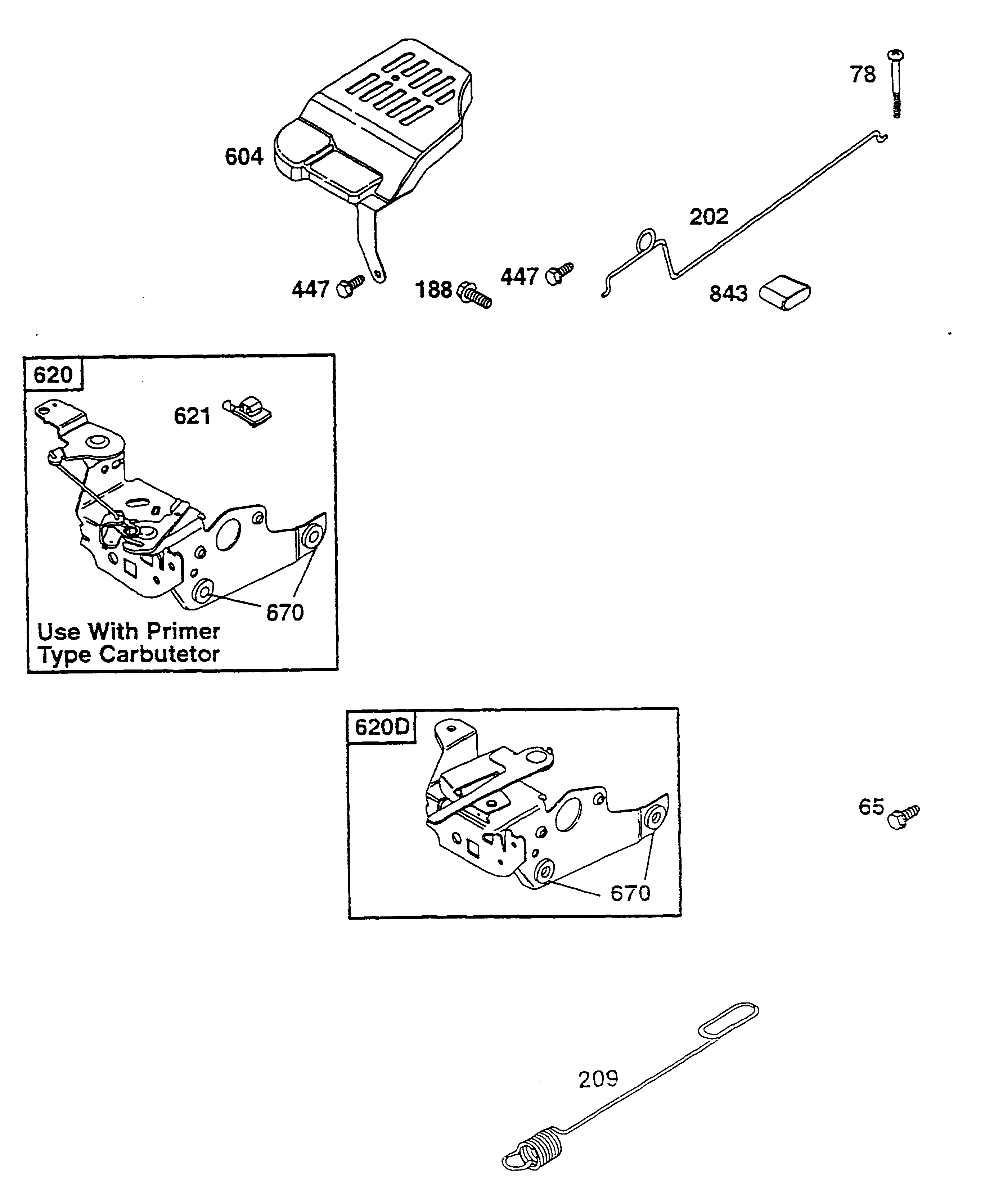
Ersatzteillisten für Wolf Benzinmotoren Regelung (2069070-2003-5)
Pos.
Bezeichnung
Ersatzteilnummer
65
Schraube
2057 108
78
Schraube
2069 144
188
Schraube
2058 405
202
Gestänge
2063 311
209
Reglerfeder
2057 147
447
Schraube
2058 406
604
Abdeckung
2058 400
620
Reglerplatte
2069 020
620D
Vergasermechanik
2069 028
621
Kurzschlußschalter
2063 129
670
Distanzstück
2058 407
Gebrauchsanweisungen
Wolf
Handgeräte
Heckenscheren
Universalscheren
Handgrasscheren
Astscheren
Baumscheren
Baumpflege
Beleuchtungssysteme
Accuscheren
Häcksler
Sägen
Trimmer
Spindelmäher
Streuwagen / Portax
Schlauchwagen
Vertikutierer / Lüfter / Aerifizierer
Mäher
Aufsitzmäher
Benzinmotoren
Tecumseh
Briggs & Stratton
Quattro
Quantum
XE, XTE, XTL 35/40/45/50-I/C-ES ( 1996 / 2069050- )
XE, XTE 35/40-50/55 ( 1996 / XEXTE_35-55- )
50 XTE ( 1999 / 2069070- )
XTE 50 ES ( 1999 / 2069080- )
XM 45 ( 1999 / 2066075- )
XM 45 ( 2002 / 2066075- )
XE 55 I/C ( 2000 / 2074050- )
XTE 50 ES ( 2002 / 2069060- )
50 XTE ( 2003 / 2069070- )
Kurbelgehäuse (2069070-2003-1)
Kolben, Ventile (2069070-2003-2)
Kurbelwelle, Ölwanne (2069070-2003-3)
Vergaser (Primer System) (2069070-2003-4)
Regelung (2069070-2003-5)
Zündanlage (2069070-2003-6)
Haube, Kraftstoffbehälter (2069070-2003-7)
Luftfilter, Schalldämpfer (2069070-2003-8)
Polrad, Lüfterhaube (2069070-2003-9)
Starter (2069070-2003-10)
Dichtungssatz (2069070-2003-11)
45 XM ( 2003 / 2075000-45- )
55 XM ( 2003 / 2075000-55- )
55 XM (2075060-2003)
55 XTE ( 2003 / 2076050- )
55 X-ES ( 2003 / 2076060- )
55 XES ( 2004 / 2069060- )
50 XTE ( 2004 / 2069070-50- )
55 XTE ( 2004 / 2069070-55- )
45 XM ( 2004 / 2075000-45- )
55 XM ( 2004 / 2075000-55- )
XTE 50 ( 2002 / 2069095- )
Q 48 Fixspeed ( 2004 / 2069096- )
Diamond
Intek
Sprint
Classic
Honda
Kawasaki
Zubehör
Impressum
(C) by motoruf