Zurück zu
>
Benzinmotoren
>
Honda
>
GCV
>
GCV 135 N1S ( 2003 / 2098070- )
>
Regelung (2098070-2003-5)
Ersatzteillisten für Wolf Benzinmotoren Regelung (2098070-2003-5)
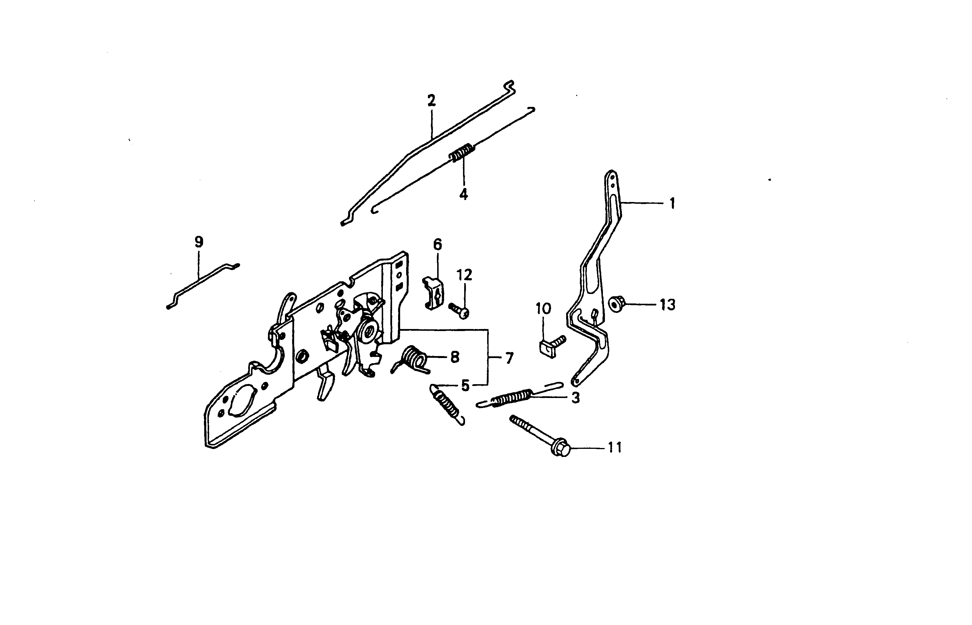
Pos.
Bezeichnung
Ersatzteilnummer
1
Reglerarm
2098 512
2
Reglerstange
2098 605
3
Zugfeder
2098 606
4
Zugfeder
2098 607
5
Zugfeder
2098 189
6
Kabelklemme
2098 520
7
Grundplatte kpl.
2098 608
8
Feder
2098 584
9
Chokestange
2098 589
10
Schraube
2098 181
11
Schraube
2098 590
12
Schraube
2098 575
13
Mutter
2098 581
Gebrauchsanweisungen
Wolf
Handgeräte
Heckenscheren
Universalscheren
Handgrasscheren
Astscheren
Baumscheren
Baumpflege
Beleuchtungssysteme
Accuscheren
Häcksler
Sägen
Trimmer
Spindelmäher
Streuwagen / Portax
Schlauchwagen
Vertikutierer / Lüfter / Aerifizierer
Mäher
Aufsitzmäher
Benzinmotoren
Tecumseh
Briggs & Stratton
Honda
GCV
GCV 160 ( 1999 / 2098000- )
GCV 160 ( 2003 / 2098000- )
GCV 135 N1S ( 2003 / 2098070- )
Zylinder (2098070-2003-1)
Ölwanne (2098070-2003-2)
Kurbelwelle, Kolben (2098070-2003-3)
Ventile (2098070-2003-4)
Regelung (2098070-2003-5)
Vergaser (2098070-2003-6)
Polrad, Zündspule, Bremse (2098070-2003-7)
Kraftstoffbehälter (2098070-2003-8)
Luftfilter, Schalldämpfer (2098070-2003-9)
Starter (2098070-2003-10)
Motor Honda GCV 135 (4050000a-2006-7)
GCV 135 A2 ( 2004 / 2098000-135- )
GCV 160 ( 2004 / 2098000-160- )
GXV
Kawasaki
Zubehör
Impressum
(C) by motoruf