Zurück zu
>
Benzinmotoren
>
Briggs & Stratton
>
Intek
>
Intek OHV ( 2001 / 1002000- )
>
Vergaser (1002000-2001-6)
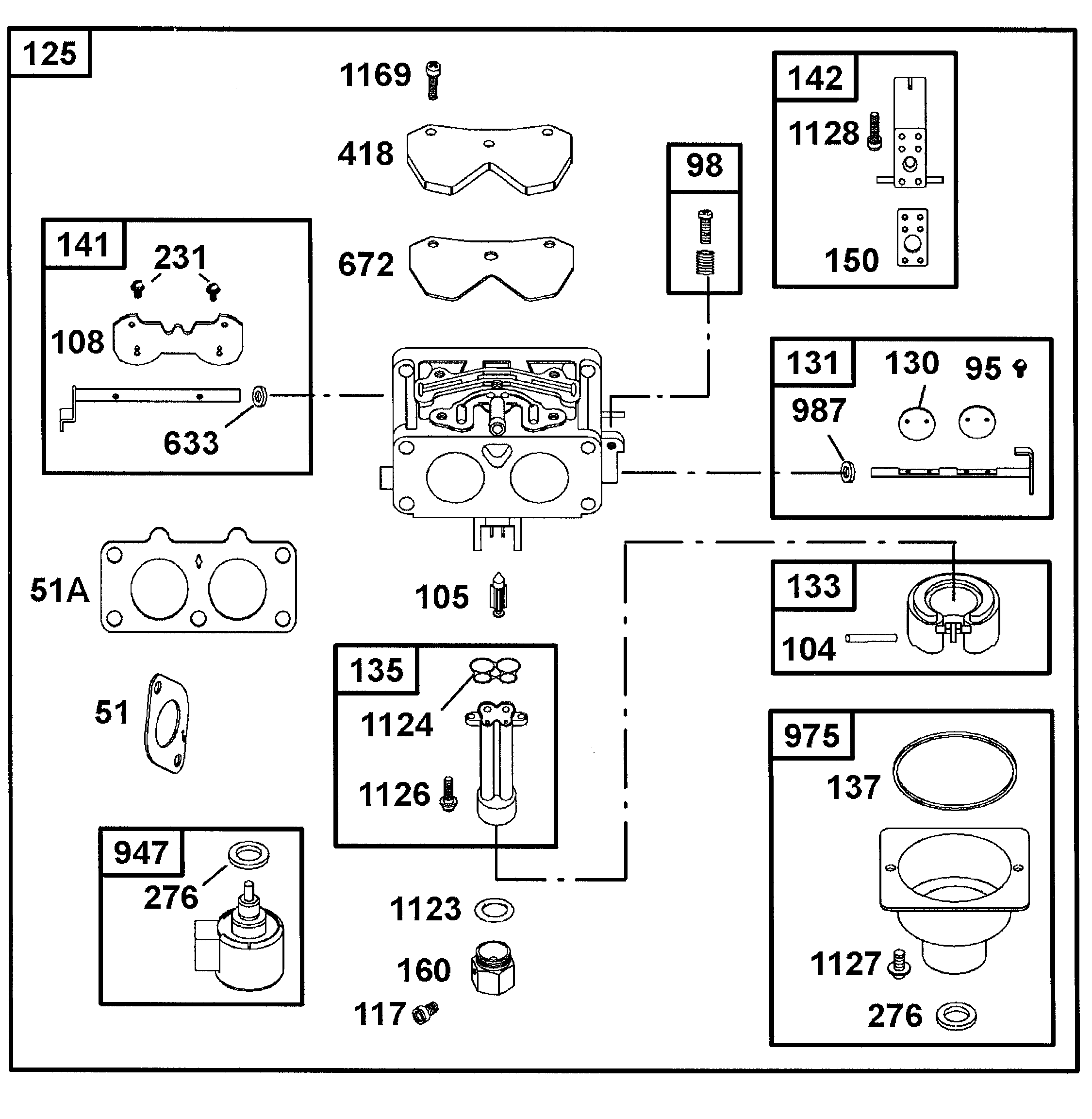
Ersatzteillisten für Wolf Benzinmotoren Vergaser (1002000-2001-6)
Pos.
Bezeichnung
Ersatzteilnummer
51
Dichtung
1002 302
51A
Dichtung
1002 330
95
Schraube
1002 150
98
Schraube
1002 017
104
Bolzen
1002 168
105
Schwimmernadelv.
1002 169
108
Choke-Klappe
1002 170
117
Hauptdüse
1002 171
117
Hauptdüse (Standard)
1002 138
125
Vergaser
1002 036
130
Drosselklappe
1002 336
131
Welle kpl.
1002 030
133
Schwimmer
1002 032
135
Kohle-Bürsten-Satz
1002 015
137
Dichtung
1002 337
141
Welle kpl.
1002 016
142
Düsennadel
1002 034
150
Verbindung
1002 338
160
Mutter
1002 175
231
Schraube
1002 150
276
Scheibe
1002 176
418
Platte
1002 178
633
Scheibe
1002 177
672
Dichtung
1002 324
947
Magnetschalter
1002 137
975
Schwimmergehäuse
1002 035
987
Scheibe
1002 179
1123
O-Ring
1002 334
1124
Dichtung
1002 335
1126
Schraube
1002 173
1127
Schraube
1002 174
1128
Schraube
1002 172
1169
Schraube
1002 172
Gebrauchsanweisungen
Wolf
Handgeräte
Heckenscheren
Universalscheren
Handgrasscheren
Astscheren
Baumscheren
Baumpflege
Beleuchtungssysteme
Accuscheren
Häcksler
Sägen
Trimmer
Spindelmäher
Streuwagen / Portax
Schlauchwagen
Vertikutierer / Lüfter / Aerifizierer
Mäher
Aufsitzmäher
Benzinmotoren
Tecumseh
Briggs & Stratton
Quattro
Quantum
Diamond
Intek
Intek 60 ( 1998 / 2057000- )
Intek OHV ( 2001 / 1002000- )
Zylinderkopf (1002000-2001-1)
Kurbelhehäuse, Ölwanne (1002000-2001-2)
Ventildeckel, Krümmer (1002000-2001-3)
Kurbelwelle, Kolben, Pleuel, Ventile (1002000-2001-4)
Öleinfüllrohr, Ölpumpe (1002000-2001-5)
Vergaser (1002000-2001-6)
Dichtungssatz (1002000-2001-7)
Regelung (1002000-2001-8)
Polradghäuse, Luftfilter, Luftführung (1002000-2001-9)
Polrad, elektrische Bauteile (1002000-2001-10)
Elektrischer Anlasser (1002000-2001-11)
Intek Edge SV ( 2003 / 2057005- )
Intek Edge OHV ( 2003 / 2057006- )
Intek Edge OHV ( 2004 / 2057006- )
Sprint
Classic
Honda
Kawasaki
Zubehör
Impressum
(C) by motoruf