Zurück zu
>
Benzinmotoren
>
Kawasaki
>
FA / FC
>
FA 76 ( 2003 / 2055000- )
>
Vergaser (2055000-2003-3)
Ersatzteillisten für Wolf Benzinmotoren Vergaser (2055000-2003-3)
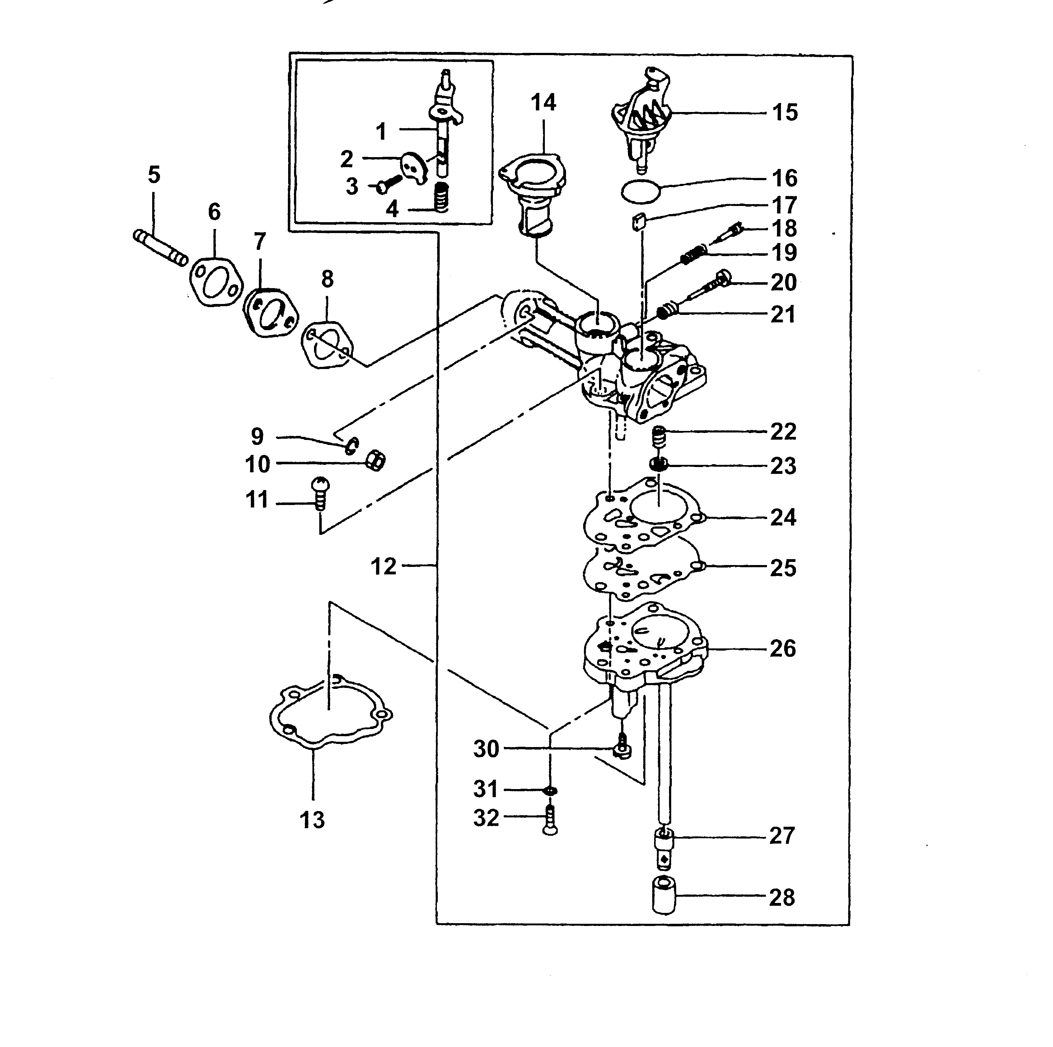
Pos.
Bezeichnung
Ersatzteilnummer
1
Chokerschaft
2050418
2
Chokerventil
2055436
3
Schraube
2055113
4
Feder
2055438
5
Stehbolzen
2055215
6
Dichtung
2050409
6
Isolierdichtung
2055216
7
Isolator
2050410
8
Dichtung
2050409
8
Isolierdichtung
2055216
9
Scheibe
2050504
10
Mutter
2050503
11
Schraube
2050412
12
Vergaser kpl.
2050052
12
Vergaser kpl.
2055052
13
Dichtung
2050423
13
Dichtung
2055217
14
Drosselklappe
2050413
15
Chokerschaft
2055418
16
O-Ring
2050419
17
Distanzstück
2050429
18
Einstellschraube
2050414
19
Feder
2055 420
20
Regler-Schraube
2050416
22
Feder
2050417
23
Federhalter
2050421
24
Dichtung
2050411
25
Membrane
2050422
26
Gehäuseunterteile
2050430
27
Filter
2050427
28
Muffe
2050428
30
Düse
2050426
31
Scheibe
2050425
32
Schraube
2050424
Gebrauchsanweisungen
Wolf
Handgeräte
Heckenscheren
Universalscheren
Handgrasscheren
Astscheren
Baumscheren
Baumpflege
Beleuchtungssysteme
Accuscheren
Häcksler
Sägen
Trimmer
Spindelmäher
Streuwagen / Portax
Schlauchwagen
Vertikutierer / Lüfter / Aerifizierer
Mäher
Aufsitzmäher
Benzinmotoren
Tecumseh
Briggs & Stratton
Honda
Kawasaki
FA / FC
FA 76 ( 1996 / 2055000-B - D )
FA 76 ( 1996 / 2055000-E )
FA 76 ( 1996 / 2055000-F, G )
FC 150 V ( 1996 / 2090065- )
FC 150 V ( 1999 / 2096055- )
FC 180 V ( 1999 / 2096080- )
FA 76 ( 2003 / 2055000- )
Kurbelgehäuse, Ölwanne (2055000-2003-1)
Kurbelwelle, Kolben, Pleuel, Ventile (2055000-2003-2)
Vergaser (2055000-2003-3)
Tank (2055000-2003-4)
Regelung (2055000-2003-5)
Lüfterhaube (2055000-2003-6)
Polrad, Zündspule (2055000-2003-7)
Luftfilter, Schalldämpfer (2055000-2003-8)
Starter (2055000-2003-9)
FC 150 V ( 2003 / 2090065- )
FJ
Zubehör
Impressum
(C) by motoruf