Zurück zu
>
Benzinmotoren
>
Kawasaki
>
FA / FC
>
FC 150 V ( 1996 / 2090065- )
>
Vergaser (2090065-1996-5)
Ersatzteillisten für Wolf Benzinmotoren Vergaser (2090065-1996-5)
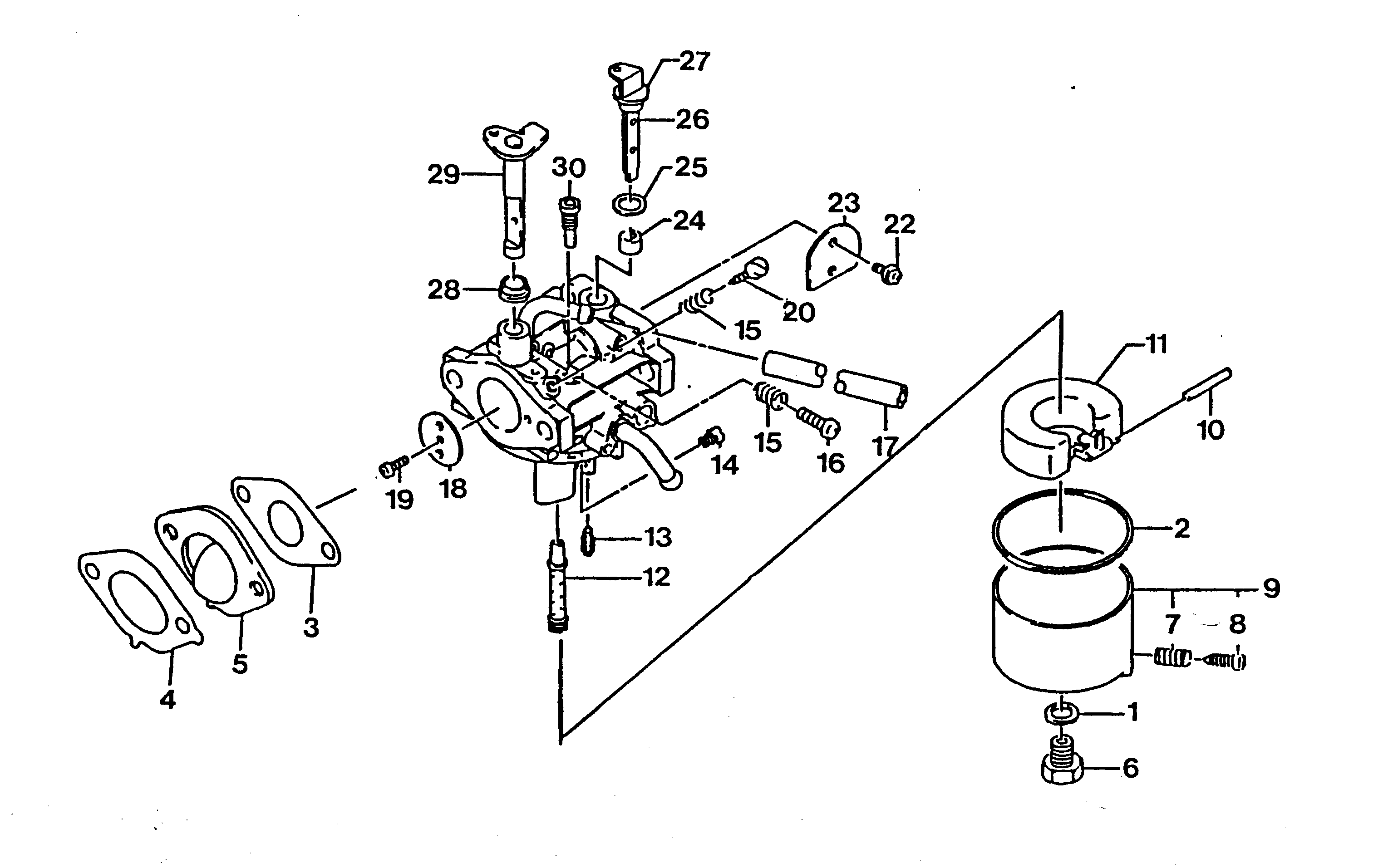
Pos.
Bezeichnung
Ersatzteilnummer
1
Dichtung
2090 470
2
Dichtung
2090 467
3
Dichtung
2095 450
4
Dichtung
2095 451
5
Isolator
2090 473
6
Schraube
2090 469
7
Feder
2090 456
8
Ablaßschraube
2090 471
9
Schwimmergehäuse mit Bild 7, 8
2090 468
10
Schwimmerstift
2090 466
11
Schwimmer
2090 465
12
Düsenrohr
2090 463
13
Nadelventil
2095 452
14
Hauptdüse
2090 462
15
Feder
2090 456
16
Schraube
2090 461
17
Schlauch
2090 472
18
Drosselklappe
2090 458
19
Schraube
2090 459
20
Einstellschraube
2090 455
22
Schraube
2090 452
23
Chokeventil
2095 453
24
Ring
2090 453
25
Dichtring
2095 454
26
Chokewelle
2095 455
27
Ring
2095 456
28
Hülse
2090 460
29
Drosselklappenwelle
2090 457
30
Leerlaufdüse
2090 454
***
Vergaser kpl.
2095 056
Gebrauchsanweisungen
Wolf
Handgeräte
Heckenscheren
Universalscheren
Handgrasscheren
Astscheren
Baumscheren
Baumpflege
Beleuchtungssysteme
Accuscheren
Häcksler
Sägen
Trimmer
Spindelmäher
Streuwagen / Portax
Schlauchwagen
Vertikutierer / Lüfter / Aerifizierer
Mäher
Aufsitzmäher
Benzinmotoren
Tecumseh
Briggs & Stratton
Honda
Kawasaki
FA / FC
FA 76 ( 1996 / 2055000-B - D )
FA 76 ( 1996 / 2055000-E )
FA 76 ( 1996 / 2055000-F, G )
FC 150 V ( 1996 / 2090065- )
Motor FC150V (2090065-1996-1)
Zylinder Kurbelgehäuse (2090065-1996-2)
Kolben, Kurbelwelle (2090065-1996-3)
Ventile, Nockenwelle (2090065-1996-4)
Vergaser (2090065-1996-5)
Schwungrad, Zündanlage (2090065-1996-6)
Füfterhaube, Filter, Auspuff (2090065-1996-7)
Tank (2090065-1996-8)
Starter, Anlasser (2090065-1996-9)
FC 150 V ( 1999 / 2096055- )
FC 180 V ( 1999 / 2096080- )
FA 76 ( 2003 / 2055000- )
FC 150 V ( 2003 / 2090065- )
FJ
Zubehör
Impressum
(C) by motoruf