Zurück zu
>
Benzinmotoren
>
Honda
>
GXV
>
GXV 140 ( 1998 / 2098060- )
>
Vergaser (2098060-1998-9)
Ersatzteillisten für Wolf Benzinmotoren Vergaser (2098060-1998-9)
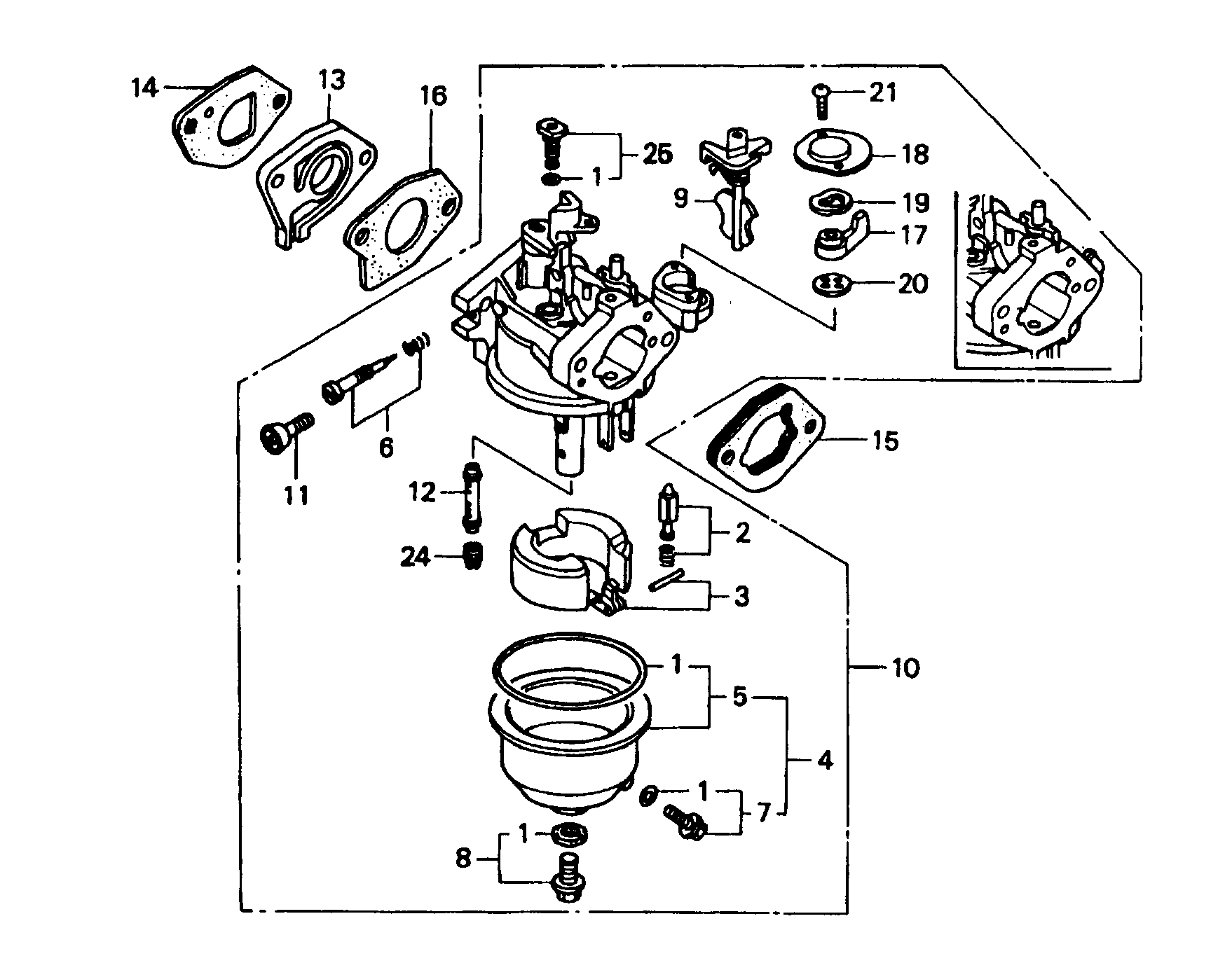
Pos.
Bezeichnung
Ersatzteilnummer
1
Dichtungssatz
2098 339
1
Dichtungssatz
2098 338
2
Schwimmerventilsatz
2098 500
3
Schwimmer mit Stift
2098 501
4
Schwimmerkammersatz
2098 502
5
Schwimmerkammersatz
2098 504
5
Schwimmerkammersatz
2098 503
6
Schraubensatz
2098 018
7
Schraubensatz
2098 030
8
Schraubensatz
2098 011
9
Starterklappensatz
2098 034
10
Vergaser kpl.
2098 056
10
Vergaser kpl.
2098 057
10
Vergaser kpl.
2098 058
10
Vergaser kpl.
2098 059
11
Schraube
2098 145
12
Hauptdüse
2098 505
12
Hauptdüse
2098 506
13
Isolierstück
2098 340
14
Dichtung
2098 341
15
Distanzstück
2098 342
16
Dichtung
2098 343
17
Hebel
2098 524
18
Platte
2098 525
19
Feder
2098 156
20
Dichtung
2098 344
21
Schraube
2098 571
24
Haupdüse
2098 602
24
Haupdüse
2098 603
24
Haupdüse
2098 604
24
Haupdüse
2098 601
24
Haupdüse
2098 603
25
Düsensatz
2098 027
25
Düsensatz
2098 026
Gebrauchsanweisungen
Wolf
Handgeräte
Heckenscheren
Universalscheren
Handgrasscheren
Astscheren
Baumscheren
Baumpflege
Beleuchtungssysteme
Accuscheren
Häcksler
Sägen
Trimmer
Spindelmäher
Streuwagen / Portax
Schlauchwagen
Vertikutierer / Lüfter / Aerifizierer
Mäher
Aufsitzmäher
Benzinmotoren
Tecumseh
Briggs & Stratton
Honda
GCV
GXV
GXV 140 ( 1998 / 2098060- )
Zylinderkopf (2098060-1998-1)
Zylinder (2098060-1998-2)
Kolben, Kurbelwelle (2098060-1998-3)
Ventile (2098060-1998-4)
Starter (2098060-1998-5)
Polrad (2098060-1998-6)
Schalldämpfer (2098060-1998-7)
Luftfilter (2098060-1998-8)
Vergaser (2098060-1998-9)
Kraftstofftank, Zündspule (2098060-1998-10)
Regelung (2098060-1998-11)
Dichtungssatz (2098060-1998-12)
Kawasaki
Zubehör
Impressum
(C) by motoruf