Zurück zu
>
Benzinmotoren
>
Tecumseh
>
Prisma
>
Prisma 37 ( 1996 / 2031055- )
>
Vergaser Primer (2031055-1996-5)
Ersatzteillisten für Wolf Benzinmotoren Vergaser Primer (2031055-1996-5)
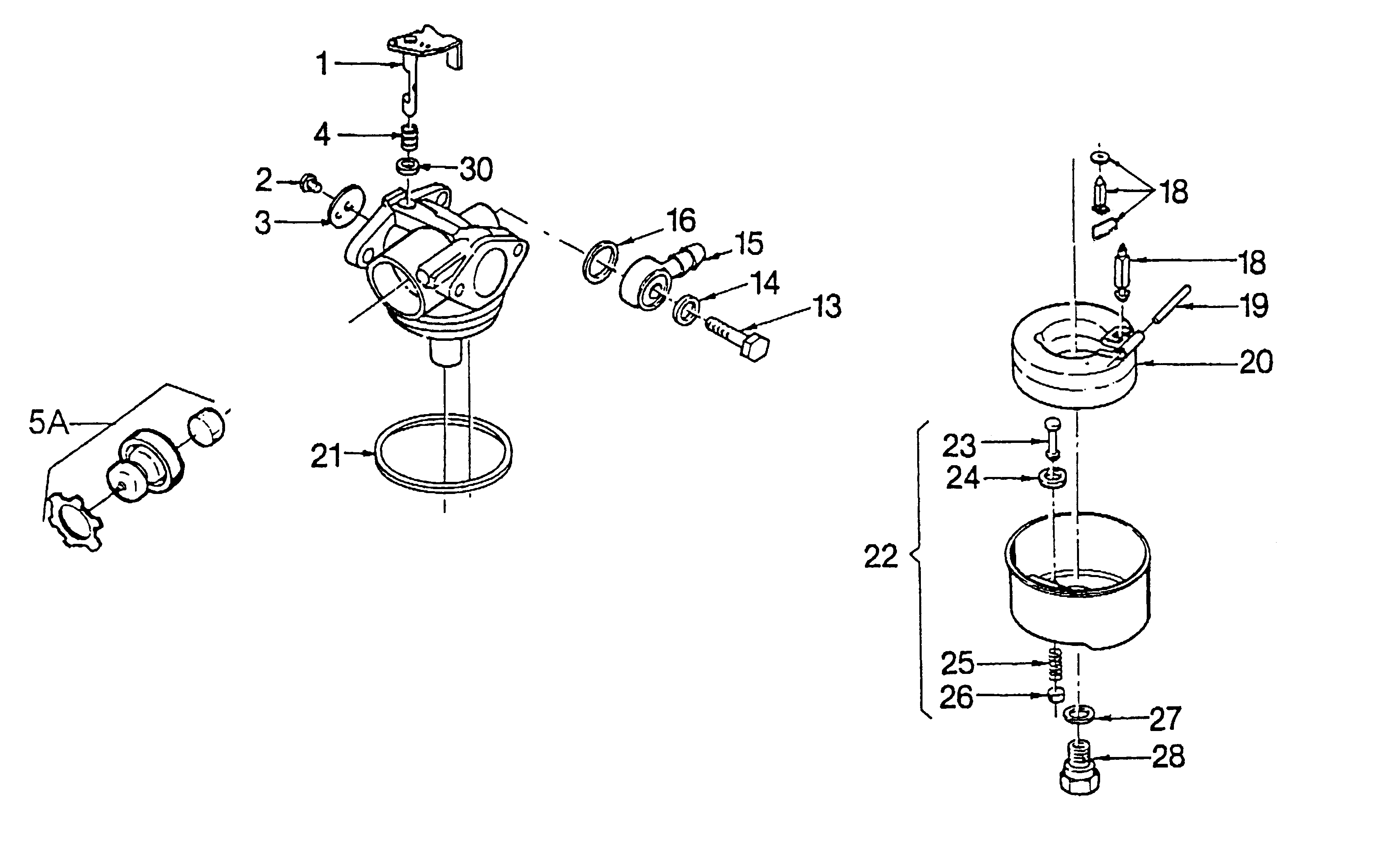
Pos.
Bezeichnung
Ersatzteilnummer
1
Drosselklappenwelle
1032 492
2
Schraube
2031 460
3
Drosselklappenplatte
2031 433
4
Feder
2085 411
5A
Primer kpl.
2031 022
13
Schraube
1032 439
14
Dichtung
1032 438
15
Einlaufstutzen
1032 437
16
Dichtung
2031 466
18
Schwimmernadel
2031 471
19
Schwimmerschaft
1032 443
20
Schwimmer
2031 470
21
Dichtung
1032 452
22
Schwimmergehäuse kpl.
1032 450
23
Tupfer
1032 451
24
Dichtung
1032 449
25
Feder
1032 447
26
Halter
1032 446
27
Dichtung
1032 444
28
Hauptdüse
2031 445
30
Schmierfilz
1038 414
***
Vergaser kpl.Primer
2031 021
Gebrauchsanweisungen
Wolf
Handgeräte
Heckenscheren
Universalscheren
Handgrasscheren
Astscheren
Baumscheren
Baumpflege
Beleuchtungssysteme
Accuscheren
Häcksler
Sägen
Trimmer
Spindelmäher
Streuwagen / Portax
Schlauchwagen
Vertikutierer / Lüfter / Aerifizierer
Mäher
Aufsitzmäher
Benzinmotoren
Tecumseh
Prisma
Prisma 37 ( 1996 / 2031055- )
Motor Prisma 37 L (1) (2031055-1996-1)
Motor Prisma 37 L (2) (2031055-1996-2)
Starter (2031055-1996-3)
Vergaser (2031055-1996-4)
Vergaser Primer (2031055-1996-5)
Prisma 156 ( 1997 / 2031050- )
Prisma 156 ( 2001 / 2031005- )
Prisma 156 ( 2003 / 2031005- )
Prisma 37 Fixspeed ( 2003 / 2031085- )
Centura
Futura
Synergy
Vantage
VLV
Briggs & Stratton
Honda
Kawasaki
Zubehör
Impressum
(C) by motoruf