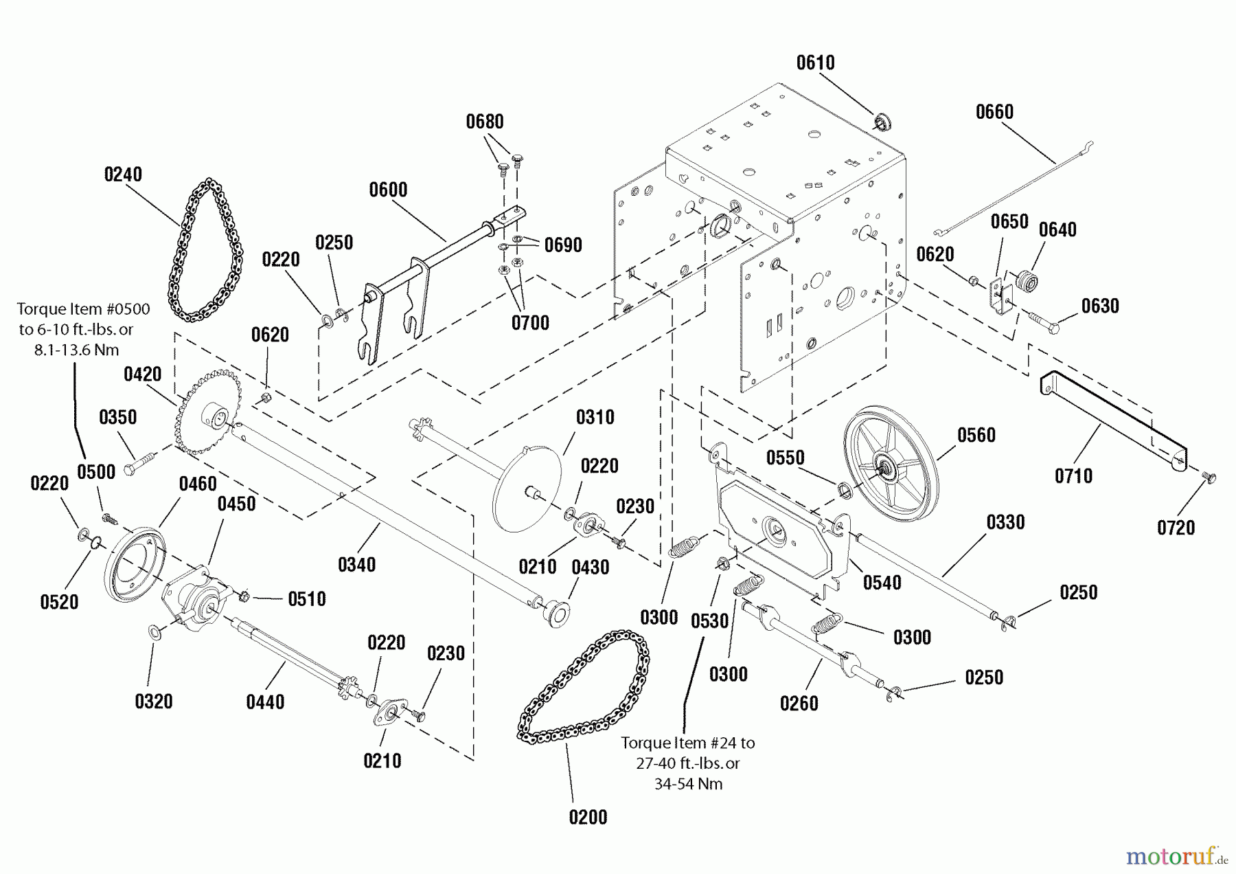
Snapper H924RX (1696008) - 24" Snowthrower, 9 HP, Two Stage Intermediate Traction Drive Group Ersatzteile
Traction Drive Group H924RX (1696008) - Snapper 24" Snowthrower, 9 HP, Two Stage Intermediate

Hier finden Sie die Ersatzteilzeichnung für Snapper Schneefräsen H924RX (1696008) - Snapper 24" Snowthrower, 9 HP, Two Stage Intermediate Traction Drive Group. Wählen Sie das benötigte Ersatzteil aus der Ersatzteilliste Ihres Snapper Gerätes aus und bestellen Sie einfach online. Viele Snapper Ersatzteile halten wir ständig in unserem Lager für Sie bereit.






