Dolmar Benzin 4-Takt MS-252.4 C 7 Schalldämpfer Ersatzteile
7 Schalldämpfer MS-252.4 C

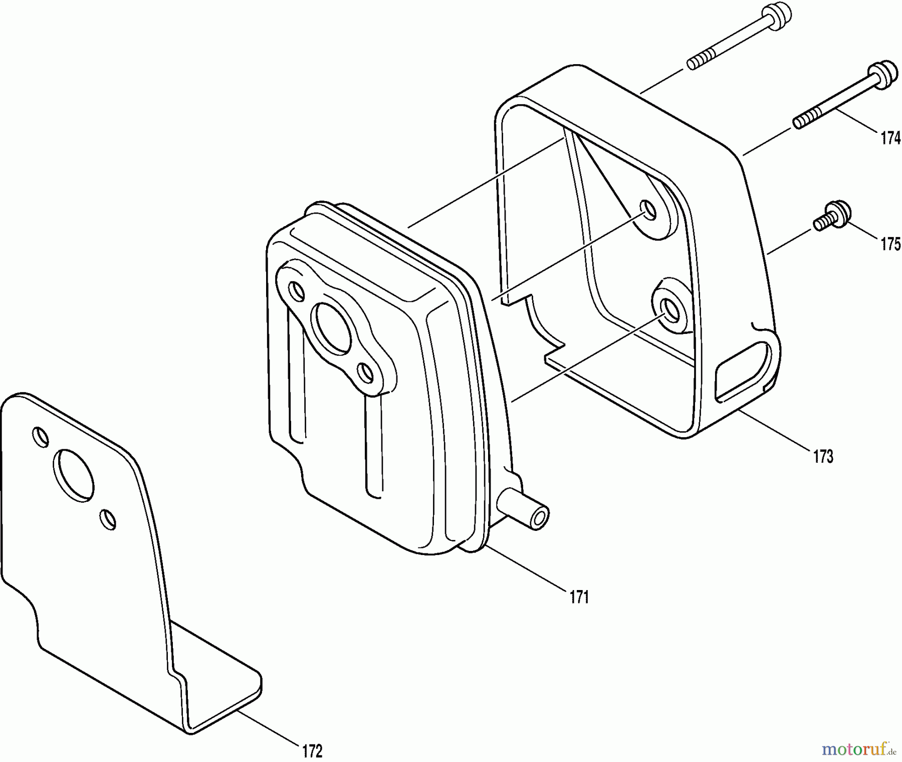
Hier finden Sie die Ersatzteilzeichnung für Dolmar Motorsensen & Trimmer Benzin 4-Takt MS-252.4 C 7 Schalldämpfer. Wählen Sie das benötigte Ersatzteil aus der Ersatzteilliste Ihres Dolmar Gerätes aus und bestellen Sie einfach online. Viele Dolmar Ersatzteile halten wir ständig in unserem Lager für Sie bereit.
| BildNr | Artikel Nummer | Bezeichnung | |
| 171 | 168469-5 | SCHALLDÄMPFER | |
| 172 | 367350160 | DICHTUNG | |
| 173 | 367350340 | VERBRENNUNGSSCHUTZ | |
| 174 | 0119059520 | SCHRAUBE M5X40 | |
| 175 | 367265184 | SCHRAUBE M5X5 | |



