Wolf-Garten Quantum 55 XM 2075000-55 (2004) Gebläsegehäuse, Tank Ersatzteile
Gebläsegehäuse, Tank 2075000-55 (2004)

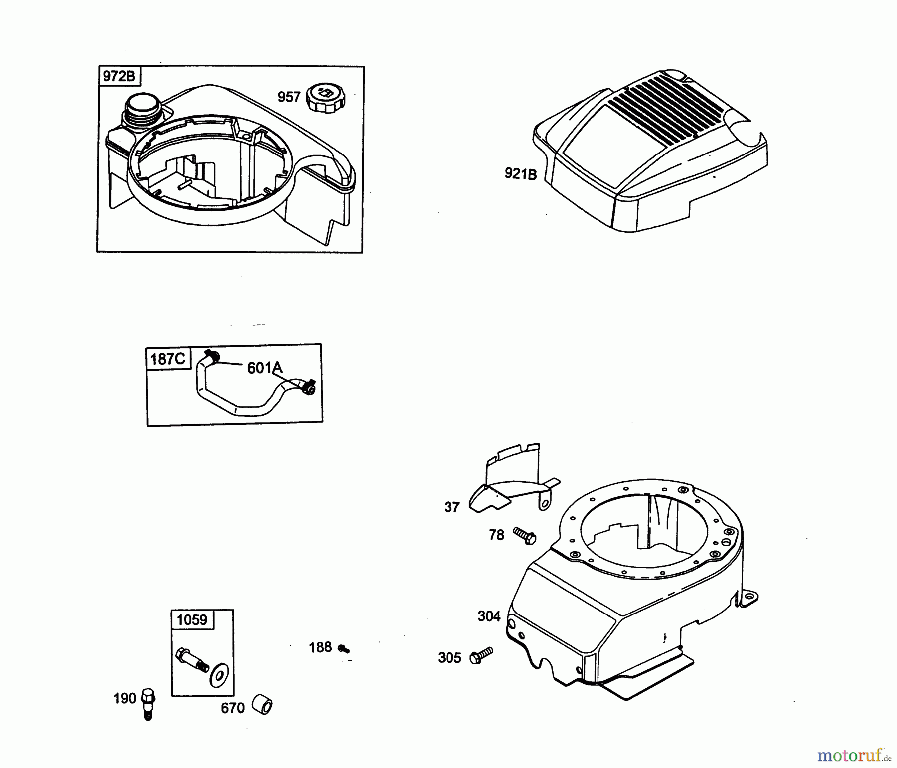
Hier finden Sie die Ersatzteilzeichnung für Wolf-Garten Benzinmotoren Briggs&Stratton Quantum 55 XM 2075000-55 (2004) Gebläsegehäuse, Tank. Wählen Sie das benötigte Ersatzteil aus der Ersatzteilliste Ihres Wolf-Garten Gerätes aus und bestellen Sie einfach online. Viele Wolf-Garten Ersatzteile halten wir ständig in unserem Lager für Sie bereit.
| BildNr | Artikel Nummer | Bezeichnung | |
| 37 | 2058306 | SCHUTZBL. G2 694086 | |
| 78 | 2058104 | SCHRAUBE G2 69 1108 | |
| 187C | 2058310 | BENZINL. G2 696292 | |
| 188 | 2058311 | Schraube | |
| 190 | 2058312 | SCHRAUBE G2 690940 | |
| 304 | 2058107 | LUEFTERGEH. G2 69 6298 | |
| 305 | 2057106 | 6KT-SCHRAUBE G2 691108 | |
| 601A | 2058314 | Klemme | |
| 670 | 2057166 | Distanzstück | |
| 921B | 2058315 | ABDECKHA. G2 692931 | |
| 957 | 2064501 | DECKEL-TAN. G2 692046 | |
| 972B | 2069199 | TANK G2 695960 | |
| 1059 | 2059203 | Schraube mit Scheibe | |


Qualitätsmanagement
Informieren Sie uns, wenn Sie einen Fehler gefunden haben.

